振动给料机、螺旋输送机、斗式提升机都是水泥厂常用的机械设备,用于不同情况的输送情况。
我厂两条@4m×50.54m的立波尔密生产线自1970年10月和1971年10月相继投产以来,回转密的供煤系统一直存在着煤粉下料不均的问题,窑尾冒黒烟的现象时常发生。
1988年5月我们在尽量应用原有设备的前提下对2号窑供煤粉的系统进行部分改造。
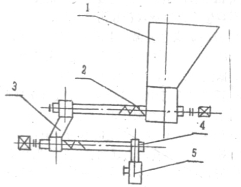
我厂原7-29-11型Nol3煤粉鼓风机,风量2000mn、风压偏小为7398.8Pa,虽然在以往的改造中我们对密头喷煤管的三通拔梢进行过多次改进,但双管喂料机下料溜子处仍然处于很大的正压状态,因而使得煤粉下料不均。为此我们将窑头煤粉鼓风机换成了M9-26型No.13风机,其风量为39910m'n,风压为9329.6Pa。此外,还将0200×2500mm的双管喂料机拆除,换成了上边为300×300mm、下边为d250mm×2500mm的双管喂料机,其最大输送量分别为78m'h和36mh。且上边的6300mm的双管一个管为反向输送煤粉。改造前后工艺布置简图分别见图1和图2。

改造后的煤粉溜子始终处于充满煤粉的状态,而多余的煤粉可通过反向输送的单管将其送回煤粉仓1。基本上直到了保持煤粉压力不变和稳定输送煤粉的作用,从而保证了煤粉下料的均匀性。为了保持煤粉下料的均匀,我们还将原装6t的煤粉小库改成了现装不足3t的小库。
从一年来的使用情况看,无论是冒黒烟还是窑内后结圈均比以前减少。尽管1989年以来我厂煤的质量下降,回转窑结后图和冒黑烟的次数与改造前相比仍降低;与未改造供煤系统的1号窑同期相比结圈次数减少,改造前后1、2号密后结次数统计见表1和表2。











