某水泥厂为了生产的需要,对生料车间和水泥磨车间的两台斗式提升机尾部拉紧装置进行了改进,具体做法如下
斗式提升机的尾部调节丝杆经常因粉尘和锈蚀螺母与丝杆难以相对转动,即使能相对转动,要将螺母与丝杆拧到全部脱开也相当困难,往往只能用气割将丝杆割断。针对上述问题,我们将固定角钢2和丝杆螺母固定框7分别加工成U字型开口,并加装卡板4,卡板与固定角钢用M12螺栓联接,这样拆卸调节丝杆十分简单,只要将卡板4拆下,整套丝杆即可一起拆出,旧丝杆清洗后与新件无异,以后新制作调节丝杆上部螺母可以去掉,减少加工量。详见图1。

1.外売;2.固定角钢;3.调节滑板;4.U型卡板;5.调节丝杆;6,螺母;7.螺母固定框
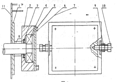
另外,我们将原来底部轴承座拆除,改用方型轴承座,加装置一骨架式油封,将斗式提升机尾轮轴适当加粗加长(以100mm左右为宜),让轴承座与底部外壳脱开。用一块12mm的钢板作固定板1,固定在原拉紧装置的调节滑板上(焊接或者用螺栓联接均可)。在固定板1上焊上攻丝后的耳板两块,耳板长度可根据轴的加长长度现场确定,要固定方型轴承座2。用螺栓将轴承座固定在耳板上,螺栓的伸出部分正好插入方型轴承座的盲孔内,拧紧止推螺母9,这样即可投入使用。详见图2。

图2
1.固定板;2.方型轴承座;3.骨架式油封;4.轴承5.闷盖;6.垫片;7蜾栓;8.耳板;9.止推螺母;10.轴承座固定螺栓;11调节滑板
我们对生料车间三台D350和四台HL400以及水泥磨3台HL400提升机进行改造,使用了四年多时间,效果良好,总结如下
(1)密封性能好,轴承每年清洗一次,基本上没有损坏;
(2)用螺栓和耳板固定方型轴承座具有保险作用,避免折断尾轮轴,耳板脱落仅发生两次
(3)维修简单,原来更换一只轴承需要三个小时乃至更多时间,现在普通岗位工用45分钟左右即可完成。
(4)调节丝杆加工简单,折卸也非常方便,可进行经常性的清洗,节约大量调节丝杆;
(5)由于方型轴承座与耳板可以相对转动,无需用调心轴承,尾轮在有较大幅度倾斜的情况下也能正常工作。











