FU270刮板机链条带钩子
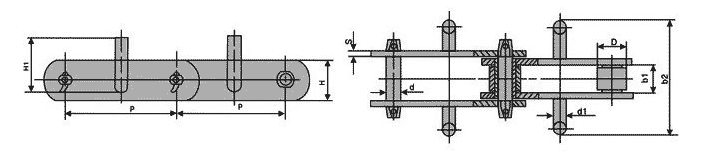
FU270链条尺寸
FU270刮板机链条和NE30提升机链条、NE50提升机链条尺寸类似,都属于大节距套筒滚子链条,是刮板输送机中的常用链条,有两边带钩子的U型链条,也有两边带刮板的T型链条。
FU270链条节距152.4mm,内节内宽36.5mm,滚子直径36mm,链板高度50mm,链板厚度8mm,销轴直径15.5mm,销轴长度90mm,两边链钩中心距224mm,链钩直径16mm。
FU270链条材质
可以看的出来FU270链条和NE提升机链条样式尺寸类似,只是两边带的是刮板或链钩,用来刮物料。
FU270链条材质当然与NE系列链条材质也类似了,链板为45#钢,销轴套筒滚子为40Cr调质热处理,链钩材质为Q235。
FU刮板机链条型号表示
FU270其实就是刮板输送机的型号,FU是刮板输送机的字母代号,270是输送槽的宽度。
FU270刮板输送机概述
FU型拉链式输送机,是引进国外先进技术并进行改进的一个输送机产品,适合输送粉状、粒状物料,其使用性能优于螺旋输送机,埋刮板输送机和其它输送设备,在建材、建筑、化工、矿山、机械、冶炼、粮饲加工等行业都有着广泛应用。可以水平、倾斜方向输送,进出口设计也很灵活,多口进料、多口出料都可以实现。
FU270刮板输送机的槽宽为270mm,输送量根据链条运行速度而确定。刮板机设计是,链条运行速度需要根据物料的特性进行选择,例如对磨琢性强、温度高、粗大颗粒比例多及料粒大的物料可以选用较慢的速度。
FU270刮板输送机,也叫FU270拉链机,链式输送机,输送原理很好理解,拉链机链条的运动使机槽内的物料之间内部压力和颗粒间的内摩擦力增加,当料层之间的内摩擦力大于物料与槽壁间的外摩擦力时,物料就随着输送链一起象水一样地向前流动,料层高度与机槽宽度的比值满足一定条件时,可形成稳定的物料流。先进的输送原理,精良的设计和制造工艺为本系列产品的优良性能提供了可靠保证。
FU刮板输送机链条技术参数

| 型号 |
节距 (P) |
滚子外径 (ФDr) |
内节内宽 (LI) |
销轴直径 (ΦDp) |
销轴长度 (L) |
链板厚 (T) |
链板宽 (Hp) |
链钩高 (H1) |
总宽 (B) |
链钩直径 (d1) |
载荷(Tmax) 单位:KN |
|---|---|---|---|---|---|---|---|---|---|---|---|
| FU150 | 101.6 | 26.5 | 27 | 11.5 | 70 | 6 | 35 | 48 | 130 | 12 | 100 |
| FU200 | 152.4 | 36 | 36.5 | 15.5 | 90 | 8 | 50 | 65 | 160 | 16 | 230 |
| FU270 | 152.4 | 36 | 36.5 | 15.5 | 90 | 8 | 50 | 85 | 240 | 16 | 230 |
| FU350 | 200 | 44.5 | 51.8 | 19.1 | 120 | 10 | 60 | 123 | 320 | 20 | 380 |
| FU410 | 200 | 44.5 | 51.8 | 19.1 | 120 | 10 | 60 | 148 | 370 | 20 | 380 |
| FU410Q | 200 | 48.5 | 57.6 | 22.2 | 126 | 10 | 75 | 148 | 370 | 20 | 550 |
| FU500 | 300 | 63.5 | 67.4 | 31.75 | 150 | 12 | 90 | 180 | 460 | 25 | 750 |













